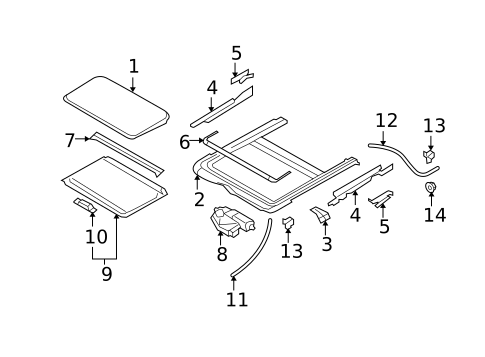
Sunroof for 2009 Nissan Versa
Nissan Drain Hose Clip, Right
Lower. Without dual panel sunroof. Sedan. Hatchback.
Nissan Without sunroof, beige. 2008-15. Sedan. Hatchback. With sunroof, charcoal.
Nissan Sun-visor Bolt, Left
With sunroof. 2008-15. 2008-13. Sedan. Hatchback. All.
Nissan Sedan. Hatchback. Kicks. Room lamp. Pathfinder. Courtesy light. Versa. Without sunroof.
Nissan Hatchback, with sunroof, with telephone. Sedan, with sunroof, with telephone.
Nissan Hatchback, without sunroof, with telephone. Sedan, without sunroof, with telephone.
Nissan Hatchback, with sunroof, without telephone. Sedan, with sunroof, without telephone.
Nissan Sedan, without sunroof, without telephone. Hatchback, without sunroof, without telephone.
Nissan Sedan, trunk lid, with intelligent key. Versa. All. With smart entry. With foglamps.
Nissan Release Switch
Hatchback, lift gate, without intelligent key. Versa. All. Without smart entry. Without foglamps. Sedan, trunk lid, without intelligent key. Coupe,. Altima Hybrid.

